突破!| 实现可浸润侧翼DFN封装技术,西安航思紧抓技术创新提升自身硬实力!
可浸润侧翼DFN封装对于汽车电子类产品的价值所在
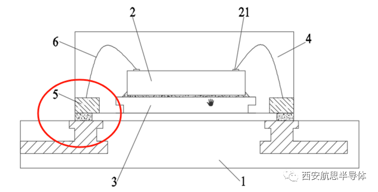
DFN是一种俗称无外引脚 的封装体。焊接在印刷电路板上,焊接点被封装体遮掩,单凭外观检查是很难判断焊点的品质。业界利用X光机检查,成本高,X光机结果需要人为判断。若要做到设备全自动检查,便要靠焊点的锡料向外延伸,超越封装体的周边来实现。
可浸润侧翼DFN封装便是其中一个可行的解决方案。其原理是引脚端制造出一个台阶,并且镀上可焊接的镀层,在贴上印刷电路板时该台阶使焊料向外延伸,形成一条尾巴状的焊料,超越封装体的周边,可让AVI机检查。

DFN封装广泛应用于手机、平板等消费类电子产品,是产品空间受限情况下的理想解决方案。

而可浸润侧翼DFN封装将焊点从二维提高到三维,因其更高的可靠性在汽车行业更受信赖。采用这种封装工艺的汽车电子产品,其电气故障、性能下降或传感器数据错误出现的概率会更低。
我司在可浸润侧翼DFN封装工艺上取得的进展
我司根据不同客户需求,开发了两款可适用于不同产品的可浸润侧翼DFN封装工艺:




作为车规产品的一种重要封装工艺,可浸润侧翼封装技术将会是未来的大方向,我司通过不断的研发和验证,目前已取得该项技术的专利。

后续我司会在该技术上持续投入,以满足更多客户及产品的不同生产需求。